В Волгограде создали полицейский дрон для разгона митингов перцем
Беспилотник оснастят громкоговорителем и лазерным прицелом. Он предназначен для разгона несанкционированных собраний и отпугивания агрессивных животных.
24 февраля, 2026, 16:30 0

Беспилотник способен нести до 15 килограммов полезной нагрузки.
Источник:
Волгоградская академия МВД России зарегистрировала патент на беспилотный летательный аппарат для нужд полиции. Устройство предназначено для обеспечения общественного порядка на массовых мероприятиях и отпугивания агрессивных животных.

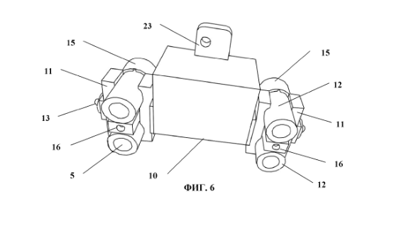
На изображении представлен концепт дрона для разгона массовых собраний.
Источник:
Согласно документам, квадрокоптер будет оборудован сиреной с громкоговорителем, а также установкой для стрельбы аэрозольными патронами, снаряженными экстрактом жгучего перца.

По бортам аппарата закреплены четыре патрона, между которыми расположены лазерные прицелы.
Источник:
В патенте указано: «Задача, решаемая заявляемым техническим решением, — создание беспилотного воздушного средства, способного осуществлять патрулирование при проведении массовых мероприятий, а при выявлении несанкционированных митингов — проводить предупреждения по громкоговорящей связи или применять специальные активные средства для предотвращения правонарушений».
Разработчики уделили особое внимание системам звукового и светового оповещения, включая проблесковые маячки.
«В заявляемом решении система громкоговорящей связи, позволяющая применять как сирену, так и передавать голосовые сообщения, может быть также эффективной и при оповещении населения, и для отпугивания агрессивных животных, и при проведении агитационных мероприятий, — отмечают изобретатели. — При реагировании на выявленное нарушение для остановки действий нарушителей значительно снижена возможность нанесения ущерба здоровью лиц, нарушающих общественный порядок, за счет использования патронов аэрозольного типа с распыляемым действующим веществом».
В качестве оружия используются четыре аэрозольных баллончика БАМ-ОС калибра 18 × 55. Каждый содержит экстракт красного жгучего перца. Дальность распыления достигает 5 метров в температурном диапазоне от -5 до +40 градусов Цельсия.
«Система громкоговорящей связи в заявляемом решении позволяет оператору наземного пункта управления осуществить голосовой контакт для оповещения нарушителей общественного порядка и предотвращения их действий, — говорится в патенте. — Подавать голосовые сигналы, в том числе звуковые сирены из наземного пункта управления, позволяет собственный источник питания системы громкоговорящей связи и его независимость от модели БПЛА, что является отличительной особенностью технического решения».
В пресс-службе Волгоградской академии МВД отказались комментировать получение патента, сославшись на отсутствие ответственного сотрудника.
Читайте также





















